-
详细信息
五要素气象变送器
型号:DF-YC5
五要素气象变送器简介:
五要素微气象仪是针对多领域气象参数进行监测的仪器。设备创新性地将气象标准五参数(温度、相对湿度、大气压力、降雨量、总辐射\光照)通过一个高集成度结构来实现,可实现户外气象参数24小时连续在线监测,通过数字量通讯接口将五项参数一次性输出给用户。 产品特点
1、标配监测温度、相对湿度、大气压力、降雨量、总辐射\光照等五项参数,RS485通讯,MODBUS协议通讯(可定制协议);
2、精度高、性能可靠,适用于户外气象恶劣环境领域;
3、实现参数采集、可选配扩展LORA、GPRS、4G等无线方式,实现数据自动上传网络平台,手机客户端实时查看数据;
4、实时监测气象环境数据,成本低,适合网格化布点;
5、体积小、模块化设计,灵活布局;
6、数据采集采用32位高速处理芯片,稳定、抗干扰。
7、可扩展外接风速、风向、地温、地湿、EC等传感器组成10要素气象站。
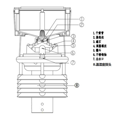
结构图
技术参数:监测参数 测量范围 分辨率 精度 温度 -40-60℃ 0.01℃ ±0.3℃ (@25℃,典型) 湿度 0-100%RH 0.01%RH ±3%RH (0-90%RH) 气压 300-1100hpa 0.1hpa ±0.5hpa(0-30℃) 降雨量
0-200mm/h 0.2mm ±0.4mm(≤10mm),±4%(>10mm) 光照度 0-200KLUX 10LUX 3% ☆辐射 0-2000w/㎡ 1w/㎡ ±5% 监测原理 温湿度度(瑞士Sensirion 数字温湿度传感器)、雨量(翻斗式)
光照(德国ROHM数字感光芯片)、辐射(欧司朗硅光电池)输出信号 RS485通讯、 Modbus通讯协议 供电 9-24VDC
固定方式 套筒固定;
法兰转接盘固定功耗 <10mA@12V
壳体材质 ASA工程塑料(防紫外线防风化防腐蚀,常年应用不变色) 防护等级 IP66 ☆固定支架 1.5米、3米法兰固定;1.8米三脚架固定 ☆GPS 设备跟踪定位 ☆数据发布 PC端、手机APP、液晶电视展示等




